• UNPOLISHED
  • Latest
  • Guides
    • In-Depth
    • Interviews / News
    • Listicles
    • Auctions
    • Just for Fun
  • About
Menu

Rescapement.

  • UNPOLISHED
  • Latest
  • Guides
  • Sections ▼
    • In-Depth
    • Interviews / News
    • Listicles
    • Auctions
    • Just for Fun
  • About

Rescapement Is Now Unpolished Watches

In January 2025, Rescapement relaunched as Unpolished Watches, the newsletter for watch collectors and insiders. It’s a 2x/week email to stay up to date on what’s really happening. Named one of the best single operator newsletters on the internet.


What Four Recent Rolex Patents Tells Us about the Future of Watches

May 3, 2022

Incremental technical innovations and some modest predictions

By: Owen Lawton

Every couple of months or so, someone in the tech media will publish an article relating to a large tech company such as Apple and a patent that they have filed for. The frequency of these articles tends to increase in the run-up to the launch of new products as speculation builds and predictions are made about the expected new releases. 

While these are sometimes accurate about upcoming products, in other instances they can give clues to the direction of a company’s research and potential product plans. Usually, the article has a hyperbolic title with a claim that Apple plans to remove the notch from the next iPhone.

Little is ever written about the patents that watch companies and groups file for; however, it can provide interesting insights into the future of the industry. Whether or not the patents ever get used is a different story, but it is fun to speculate about the future.

Very briefly, a patent is a legal agreement between an inventor and a government whereby the government will grant the sole right of that invention for a fixed period to the inventor, in exchange for the invention being disclosed. The invention is protected for a fixed period of time, it is added to the collective human knowledge and is shared for others to make progress on. 

From the perspective of a government, this provides a greater incentive for innovation, and from the inventor the knowledge that they can use their invention within the region without competition. 

In the context of watches, many inventions are patented and some are well documented. Some of the more famous examples include Borgel’s waterproof case and Breguet’s tourbillon patent. In the case of the Borgel waterproof case, the patent drove others to find solutions to the waterproofing of a watch case without infringing on his patent. 

Now for the exercise in analysis and speculation. Below are four patents from Rolex published in 2021 that are either in current watches or could be seen in new watches soon.

Alignable Screw Down Crown (US 11199815B2)

To the non-watch enthusiasts, a Rolex is considered by many as the epitome of luxury and as such it should be perfect. Yet there is often one glaring error. The cornet doesn’t rest vertically on the crown when screwed in. Omega has their Naiad Lock system for ensuring the case back is always screwed on straight to the back of their watches after services (US 2018032034A1) that works in a similar way to a lens on a camera body. 

Rolex already has a system for this issue but it is only used on the precious metal Skydweller. In order to achieve the aligned crown on the Skydweller, there is a system inside the crown that is likely difficult to justify across the whole catalogue due to its complexity. This patent provides a solution to the crown problem by allowing watchmakers to quickly adjust the orientation of the crown, allowing it to be added to the whole catalogue.

rolex crown patent

The system works by a nut (75 in the figure above) threading onto the crown tube 8. The nut can then be adjusted to move the crown tube clockwise or counterclockwise to rotate the pattern on the crown without sacrificing the seal between crown and crown tube. This way, the Rolex logo can be straight on every watch.

In this patent, Rolex describes the issue of not straight crowns as “obviously unacceptable when these crowns are fitted in luxury and high-quality products,” indicating the seriousness of the issue as Rolex continues to move to position itself as the face of the luxury watch market.

It may be that it is a system already in current production Rolex watches or it might appear in the not too distant future. As it is such a small change in their pursuit of perfection, it is unlikely that it is a feature Rolex would announce and more likely a subtle change that occurs over time and as watches return for service.

‘Big Date’ Display (US 2021341881A1)

The big date complication is one that has been achieved using numerous methods. If a watch company hopes to use the complication in their watch they could use a Soprod module on top of an existing ETA or Sellita movement or design their own system integrated into a movement. 

In order to achieve the task of displaying the date in a larger format, a variety of types of big date solutions have been devised. Some use overlapping discs where a clear, numbered disc is placed over a coloured numbered disc; others use a disc-in-disc system where two numbered discs are placed coaxially in a similar way to the day and date in a Seiko 5. 

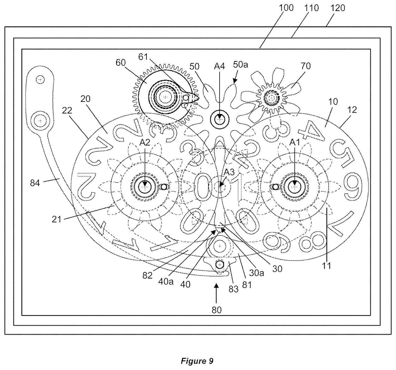
This Rolex patent is for a parallel disc system whereby numbered discs are placed next to one another in the movement, displaying a digit on either side of the display window.

In the image above, gear 60 has a tooth 61 and completes one revolution every 24 hours. Tooth 61 drives the gear 50 that acts on gear 30 which in turn acts on the gears that display the date (gears 11 and 21). The two gears in each system are attached to one another and have missing teeth in a way that the digits 0, 1, 2, 3 and 0, 1 in the 31 dates are displayed the correct number of times. 

The gears 30 and 40 are arranged in a similar way to the systems in 11 and 21 however, they are not attached and only 30 is driven by gear 50. This means 40 is driven by the lower of the gears in 11 and 21 moving.

So how does a date change occur? b and c refer to the upper and lower planes of gears respectively on 11 and 21. For the date to change from 31 to 01, the 3 must change but the 1 must stay constant. 

50 moves gear 30 onwards one and since there is a 21b tooth the 3 moves onto the 0 however, there was no 21c tooth or 11b tooth, 40 does not rotate and neither does gear 11, thus retaining the digit 1 being displayed. 

The rocking click system of 81, 82, 83 and spring 84 make the change in digits appear instantaneous to the user as only when there is enough force to overcome the tension in spring 84 that is applied by 82 and 84, can the date advance. 

This click system is the invention that Rolex has patented, not the gearing system indicating that Rolex is actively researching in this area. Rolex claims this click system uses less energy than others for changing the date. 

It raises the question, why patent such an incremental innovation to a technology and system that already exists when they don’t currently manufacture big date complication watches? Seeing as Rolex doesn’t currently manufacture this complication it seems logical that this is a complication we might see from them in future.

So, where is this big date system likely to feature in the Rolex catalogue? The best guess would be the Cellini range as it hasn’t been refreshed since 2017. 

A big date Cellini could be seen as Rolex capitalising on the growing popularity of brands that produce precious-metal dress watches such as A Lange & Söhne where the big date is a part of their design language. This might be a release to look out for at Watches & Wonders 2022.

‘Elastic’ Clasp Closure (US2021045503A1)

Innovations in the clasp in recent years have centered around making micro-adjust systems more convenient to use without removing the watch from the user’s wrist. This patent though discloses a clasp system where the friction “click” that closes the clasp is elasticated. 

This feature is already in many modern Rolex clasps, however very little has been discussed about it. Here’s how it works.

Traditionally, a clasp on a bracelet closes with either a clicking sound from a friction fit or the snapping shut of button-activated teeth around a pin. For added security a safety-locking mechanism might fold over the top of the clasp to ensure if the main clasp locking mechanism fails, the watch doesn’t immediately fall off the user’s wrist and smash on the floor.

This clasp works by the end link 3 rotating about the axis A1 to unlock the clasp when a force Fd is applied. Endlink 3 and link 4 are connected to one another by pin 1 which is axial along A1, thus end link 3 moves around A1 while link 4 remains stationary. The clasp would close with a “click” as the hook 31 and hook 7 lock together. The tension in spring system 10 causes the 31 and 7 to remain locked, until the user put their finger under the logo 32 on the clasp, lifting it to unlock.

The patent then goes on to explain that this type of elastic articulation between components can be used anywhere in a watch bracelet and details the use of this concept in a micro-adjustment system inside a clasp.

Again 10 is the spring system and A1 is the axis of rotation. When the force Fd is applied, 3 moves clockwise around A1 lifting the finger 31 out of the teeth 7. This allows the translationally moveable link 4 to move within the clasp cover. Spring system 10 applies a force to 3 so that finger 31 rests within the teeth 7 locking it in place at the desired length for the user.

This system appears to make the current Glidelock system easier to use as it is assisted by a spring compared to the friction fit runners inside the clasp cover of the past. The announcement of such a system to be featured in new watch clasps isn’t expected; however, like the earlier elasticated end link of the clasp, keep an eye out for it in modern Rolex watches.

This part of the patent appears to be the micro-adjustment system that was featured in the Tudor Black Bay 58 Bronze in 2021. In analyzing these patents it is worth remembering that Rolex also protects features on Tudor watches and could use Tudor to test concepts before launching them in their own watches. The announcement of such a system to be featured in new watch clasps isn’t expected; however, like the earlier elasticated end link of the clasp, keep an eye out for it in modern Rolex watches.

Engine-Turned Bezel? (US2021191333A1)

rolex engine turned bezel patent

HQMilton

This is a fun one to finish up with and speculate over. In the first figure of the patent, the bezel appears similar to the engine turned bezel of past Rolex Datejusts. If you squint hard enough, that is. 

Upon closer reading of the application, the patent discloses a system for attaching a fluted or smooth bezel to the case. The bezel in the figure simply allows both bezels to be illustrated in the same patent with different cross-sections of the bezel being shown as either smooth or fluted. 

Thus, the return of the engine turned bezel might be wishful thinking if this is the evidence for it.

Closing Thoughts

Waiting for advances in technology in the watch industry can feel like watching paint dry, yet many small innovations can go unnoticed. Looking through a company’s patents can give insight into the things that have actually changed along with what might change in the future. If anything, it is a fun exercise in speculation, the same way speculating about whether the next iPhone will have buttons or ports is.

 
In Just for Fun Tags Rolex
← Recommended: Rise in Watch Theft in Focus at the Los Angeles TimesA Guide to Online Watch Auctions →

Rescapement is an online publication — highlighted by a weekly newsletter — for in-depth articles and unimportant opinions on important vintage and modern watches. Independent and unfiltered, Rescapement is dedicated to enthusiasts and spreading horological secrets, both vintage and modern. Subscribe to laugh and learn about watches with us every weekend.

No results found

Editor’s Picks

Featured
The Digital Death of Watch Collecting
June 29, 2022
The Digital Death of Watch Collecting
June 29, 2022
June 29, 2022
The Weirdest Shape Watches You Haven't Seen
June 21, 2022
The Weirdest Shape Watches You Haven't Seen
June 21, 2022
June 21, 2022
How the Cartier Crash Became a Million Dollar Watch
June 19, 2022
How the Cartier Crash Became a Million Dollar Watch
June 19, 2022
June 19, 2022
Hands-On with Astronaut Michael Collins’ Gold Omega Speedmaster 'Apollo XI'
May 28, 2022
Hands-On with Astronaut Michael Collins’ Gold Omega Speedmaster 'Apollo XI'
May 28, 2022
May 28, 2022
Chopard Caliber 1.96 and L.U.C. 1860: One of the Best Automatic Watches Ever
May 28, 2022
Chopard Caliber 1.96 and L.U.C. 1860: One of the Best Automatic Watches Ever
May 28, 2022
May 28, 2022
More Guides
Archive
  • A Lange
  • Akrivia
  • Amazon
  • AnOrdain
  • Andorian
  • Apple
  • Audemars Piguet
  • Autodromo
  • Baltic
  • Baume & Mercier
  • Bell & Ross
  • Blancpain
  • Braun
  • Breitling
  • Bulova
  • Caravelle
  • Cartier
  • Chanel
  • Chopard
  • Christopher Ward
  • Citizen
  • Doxa
  • Enicar
  • Eterna
  • FP Journe
  • Farer
  • Favre-Leuba
  • Fitbit
  • Fossil
  • Frederique Constant
  • G-Shock
  • Google
  • Grana
  • Grand Seiko
  • Habring2
  • Halios
  • Hamilton
  • Hublot
  • IWC
  • Ikepod
  • Invicta
  • JLC
  • Jaeger
  • Junghans
  • Keaton Myrick
  • Kurono
  • LVMH
  • Lemania
  • Longines
  • Marathon
Rescapement Watches RSS
vintage watch resources

Vintage Watch Resources

In-depth articles and more on brands, references, and history.


Latest

Featured
August 17, 2022
Announcement: Rescapement.com is Shutting Down
August 17, 2022
August 17, 2022
July 7, 2022
Hands-On: Nomos Club Campus in Pink and Purple
July 7, 2022
July 7, 2022
June 29, 2022
The Digital Death of Watch Collecting
June 29, 2022
June 29, 2022
June 21, 2022
The Weirdest Shape Watches You Haven't Seen
June 21, 2022
June 21, 2022
June 19, 2022
How the Cartier Crash Became a Million Dollar Watch
June 19, 2022
June 19, 2022

ABOUT | CONTACT | Partner

COPYRIGHT 2020 © RESCAPEMENT

CHICAGO, IL

★★★★